cos(ω t + φ)
 = Maximalausschlag
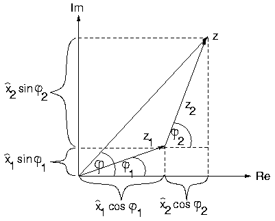
          | x(t) | = x1(t) + x2(t) | 
=  1 cos(ω t + φ1) +  2
                    cos(ω t + φ2) | 
                  
 cos(ω t + φ)
| x(t) | =  
                    cos(ω t + φ) | 
                  
= Re{ 
                    ej(ω t + φ)} | 
                  
            ej(ω t + φ):
            gleichmäßig rotierender Zeiger