Aufgabe 10
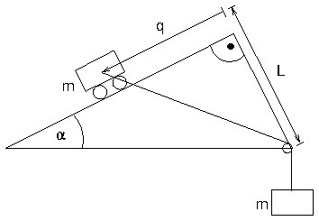
  -  Eine Masse bewege sich reibungsfrei auf einer schiefen Ebene. 
    Außerdem ziehe ein durch ein Seil umgelenktes Gewicht der Masse m an ihr: 
    
    
      - Stellen Sie die (nichtlineare) Bewegungsgleichung für 
        q auf.
      
 
      - Bestimmen Sie die Gleichgewichtslage. 
      
 
      - Linearisieren Sie die Bewegungsgleichung um die Gleichgewichtslage. 
      
 
    
   
  - Lösung